Teraz jest 29 lis 2025, o 01:54

napedMotocyklowy.pl napedMotocyklowy.pl





Utwórz nowy wątek Odpowiedz w wątku  [ Posty: 97 ]  Przejdź na stronę Poprzednia strona  1 ... 3, 4, 5, 6, 7, 8, 9, 10  Następna strona
Autor Wiadomość
 Tytuł: Re: Ustawienie EXUPA
PostNapisane: 31 mar 2012, o 17:20 
Offline
pochłaniacz winkli

Dołączył(a): 8 lis 2011, o 07:48
Posty: 686
Sprzęt: r6
Imie: robert
przepustnica nigdy nie jest zamknieta w czasie pracy moto. , jedynie ruch kontrolny automatu exupa na moment ja zamyka i ponownie otwiera. Uwazaj!! czy kiedy przekrecisz kluczyk w stacyjce, to exup w twoim moto. robi ruch kontrolny , czy nie?


Góra
 Zobacz profil Wyślij prywatną wiadomość  
 
 Tytuł: Re: Ustawienie EXUPA
PostNapisane: 31 mar 2012, o 17:41 
Offline
świeżak

Dołączył(a): 7 maja 2011, o 14:07
Posty: 39
Lokalizacja: Poznań
Sprzęt: YZF-R6
Imie: Błażej
Tak robi ruch kontrolny..


Góra
 Zobacz profil Wyślij prywatną wiadomość  
 
 Tytuł: Re: Ustawienie EXUPA
PostNapisane: 31 mar 2012, o 18:15 
Offline
pochłaniacz winkli

Dołączył(a): 8 lis 2011, o 07:48
Posty: 686
Sprzęt: r6
Imie: robert
jesli robi ruch kontrolny i staje w tym samym miejscu to super, nie patrz na połozenie szesciokata . Jesli masz zdjęty tłumik to upewnij sie ze przepustnica jest w pełnym otwarciu zablokuj ja w tym połozeniu i doreguluj długosc linek za pomoca srub regulacyjnych, zachowujac pełne otwarcie przepustnicy !!. Pamietaj ze linki nie moga byc napiete !! musza miec mały 3mm luz wyczuwalny na głowce przepustnicy.


Góra
 Zobacz profil Wyślij prywatną wiadomość  
 
 Tytuł: Re: Ustawienie EXUPA
PostNapisane: 31 mar 2012, o 18:59 
Offline
świeżak

Dołączył(a): 7 maja 2011, o 14:07
Posty: 39
Lokalizacja: Poznań
Sprzęt: YZF-R6
Imie: Błażej
No więc wczoraj robił ruch kontrolny, a gdy dzisiaj sprawdziłem to już nie.. :evil: ehh.. gdy podłączyłem linki tak jak być powinny, to przepustnice mam w połowie przymkniętą na wyłączonym silniku i nie ma bata by śrubkami te linki wyregulować.. zresztą jedna jest już napięta przez odchyloną przepustnice.. odpaliłem moto i nagrałem ten automat exupa, czy on powinien w ten sposób reagować na odkręcenie manetki..?
http://youtu.be/yPJzbf60YZ4


Góra
 Zobacz profil Wyślij prywatną wiadomość  
 
 Tytuł: Re: Ustawienie EXUPA
PostNapisane: 31 mar 2012, o 22:01 
Offline
pochłaniacz winkli

Dołączył(a): 6 gru 2011, o 23:13
Posty: 686
Sprzęt: R1 2012
Imie: Dawid
Lokalizacja: WBK
podłączam się do tematu, mam identyczny problem...100% to samo


Góra
 Zobacz profil Wyślij prywatną wiadomość  
 
 Tytuł: Re: Ustawienie EXUPA
PostNapisane: 31 mar 2012, o 22:11 
Offline
pochłaniacz winkli

Dołączył(a): 8 lis 2011, o 07:48
Posty: 686
Sprzęt: r6
Imie: robert
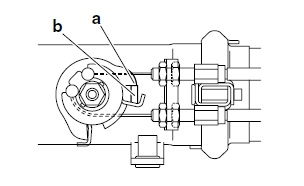
rozumiem. to tak dziala jak u pajaka . Exup wykonuje ruch podczas dodawania gazu , ale nie robi ruchu kontrolnego i nie zatrzymuje sie w pozycji dajacej mozliwosc regulacji linek tak by przepustnica była pełni otwarta bo usytuowanie szesciokatnego uchwytu linek na automacie nie pozwala. Zrób tak - odkec nakretke trzymajaca szesciokątny uchwyt blokujac kluczem płaskim ten szesciokąt by zapobiec uszkodzeniu przekładni slimakowej wewnatrz automatu , wykrec srubki obudowy, nastepnie dociskajac palcem oskę tak by nie uniosła sie w góre wraz z pokrywa obudowy otwórz automat. Zobaczysz przekładnie ślimakowa i w dole oski, która trzymałęs palcem mikropozycjoner , nie wyciagaj tego , nie ma sensu, natomiast gdy wyjmiesz plastikowe kółko posrednie napedzajace przekładnie slimakowa bedziesz mógł palcem pokrecic przekładnia slimakowa i ustawic w takiej pozyci oske na ktorej jest osadzony szesciokat zeby uzyskac taka jego pozycja , jaka masz na zdjeciu jpg 1 . Złóz wtedy wszystko do kupy , zepnij z linkami ustawiajac przepustnice w całkowicie otwartej pozycji i dopiero wtedy przekrec kluczyk w stacyjce . Prawdopodobnie exup ustawi sie w pozycji nieco innej niz na zdjeciu, ale nie kombinuj , załoz automat w jego miejsce i pojezdzij moto., sprawdz jak chodzi. jesli bedzie wszystko w przadku, to znaczy ze ten model tak ma.


Góra
 Zobacz profil Wyślij prywatną wiadomość  
 
 Tytuł: Re: Ustawienie EXUPA
PostNapisane: 2 kwi 2012, o 21:33 
Offline
świeżak

Dołączył(a): 7 maja 2011, o 14:07
Posty: 39
Lokalizacja: Poznań
Sprzęt: YZF-R6
Imie: Błażej
Dzięki, wszystko już działa jak należy..:D


Góra
 Zobacz profil Wyślij prywatną wiadomość  
 
 Tytuł: Re: Ustawienie EXUPA
PostNapisane: 2 kwi 2012, o 21:50 
Offline
pochłaniacz winkli

Dołączył(a): 6 gru 2011, o 23:13
Posty: 686
Sprzęt: R1 2012
Imie: Dawid
Lokalizacja: WBK
możesz opisać co wykonałeś?


Góra
 Zobacz profil Wyślij prywatną wiadomość  
 
 Tytuł: Re: Ustawienie EXUPA
PostNapisane: 3 kwi 2012, o 21:42 
Offline
świeżak

Dołączył(a): 7 maja 2011, o 14:07
Posty: 39
Lokalizacja: Poznań
Sprzęt: YZF-R6
Imie: Błażej
W sumie to proste, najwiecej czasu zajelo mi dojscie jak ten exup ma w ogole dzialac i w jakiej pozycji ustawić tą przepustnice.. generalnie po podłączeniu linek tak jak należy, obecnie przepustnice mam na wyłączonym silniku na w pół zamknięta (5.jpg), uruchomiłem silnik i odkręcałem manetke żeby sprawdzić na ile max to sześciokątne kółeczko w automacie exup się wychyli, a poźniej tak śrubkami przy tłumiku regulowałem długość linek, aby w skrajnym wychyleniu tego sześciokąta w automacie, przepustnica była w pełni otwarta i opierała się na tym "dynksie", (1.jpg). Mam nadzieje że napisałem to w miarę jasno.. :D A z takich ciekawostek, to wybrałem sie z tym problemem do serwisu Yamahy i powiedziano mi tam, że ten exup w r6 pełni zupełnie inną rolę niż w r1, rzekomo ma on zmniejszać głośność tłumika :shock: i na dobrą sprawe jak mam z tym problem, to najlepiej go zdemontować i wyrzucić, bo nie ma prawa wpłynąć na prace maszyny.. podziekowałem za złote myśli i poszedłem..


Załączniki:
5.jpg
5.jpg [ 53.43 KiB | Przeglądane 4635 razy ]

1.jpg [ 15.06 KiB | Przeglądane 4636 razy ]
Góra
 Zobacz profil Wyślij prywatną wiadomość  
 
 Tytuł: Re: Ustawienie EXUPA
PostNapisane: 5 kwi 2012, o 05:45 
Offline
pochłaniacz winkli

Dołączył(a): 8 lis 2011, o 07:48
Posty: 686
Sprzęt: r6
Imie: robert
jacys gamonie nie z tej planety :shock: czy fabryka siliła by sie na zamonotawnie dosc skomplikowanego mechanicznie i obwarowanego dosyc skomplikowana elektronika mechanizmu, gdyby nie miał on spełniac istotnej roli dla "rozmieszczenia" mocy w zakresie wszystkich obrotów :?: i usuniecie go było wrecz korzystne :?: nonsens.


Góra
 Zobacz profil Wyślij prywatną wiadomość  
 
Wyświetl posty nie starsze niż:  Sortuj wg  
Utwórz nowy wątek Odpowiedz w wątku  [ Posty: 97 ]  Przejdź na stronę Poprzednia strona  1 ... 3, 4, 5, 6, 7, 8, 9, 10  Następna strona

Kto przegląda forum

Użytkownicy przeglądający ten dział: Brak zidentyfikowanych użytkowników i 1 gość


Nie możesz rozpoczynać nowych wątków
Nie możesz odpowiadać w wątkach
Nie możesz edytować swoich postów
Nie możesz usuwać swoich postów
Nie możesz dodawać załączników

Theme designed by stylerbb.net © 2008
Powered by phpBB © 2000, 2002, 2005, 2007 phpBB Group sem pozycjonowanie seo
Linki partnerskie:
gsx-r forum Motul 5100 Zestawy napędowe zestaw napędowy opony motocyklowe Zębatki sunstar


Przyjazne użytkownikom polskie wsparcie phpBB3 - phpBB3.PL
phpBB SEO
Strefa czasowa: UTC + 1